國立屏東科技大學
可移轉專利技術摘要

專利名稱

細胞或粒子檢測裝置

專利證號

I435080

專利國別

中華民國

專利類型

公告日

2014/04/21

發明人代表

王耀男、傅龍明、戴昌賢、蔡建雄

專利技術摘要

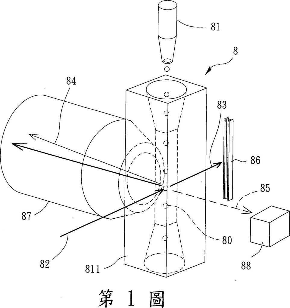
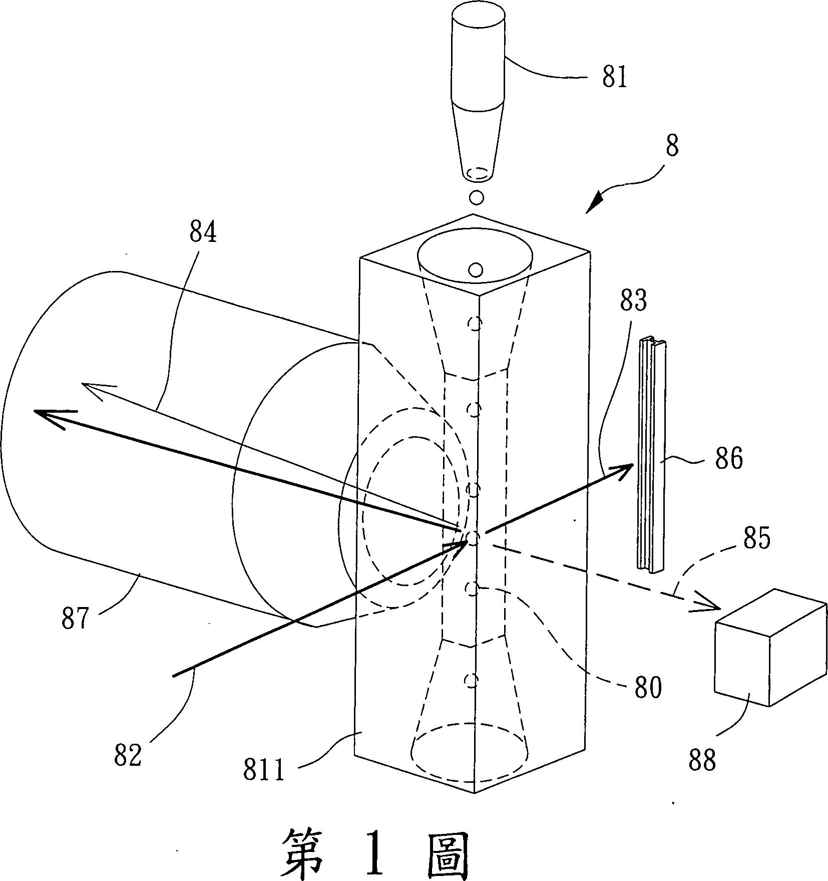
一種細胞或粒子檢測裝置,包含一發光單元、一分光單元、一第一接收單元及一第二接收單元。該發光單元係用以產生一光束。該分光單元係連接該發光單元,且該分光單元具有一輸入端、一雙向收發端及一輸出端,該輸入端係用以接收該發光單元所產生之光束,該雙向收發端係用以傳送該光束及接收另一光束,該輸出端係用以將該另一光束傳送。該第一接收單元係連接該分光單元之輸出端,用以接收該輸出端所傳送之光束。該第二接收單元係對位設置於該雙向收發端之位置,用以接收該雙向收發端所傳送之光束。

可應用範圍
(產業利用性)

照片/圖示

附件