國立屏東科技大學
可移轉專利技術摘要

專利名稱

多層級太陽能裝置

專利證號

I435455

專利國別

中華民國

專利類型

公告日

2014/04/21

發明人代表

戴昌賢、徐子圭、苗志銘、張良吉

專利技術摘要

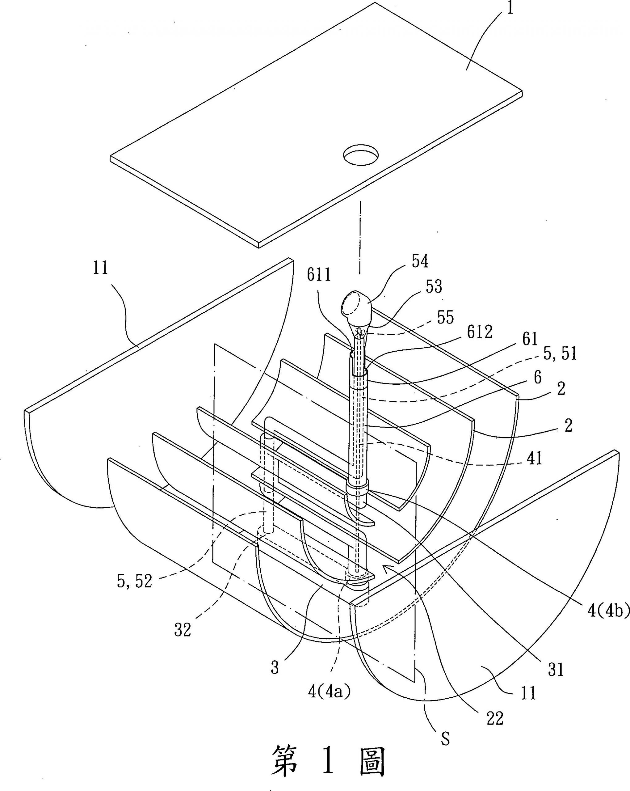
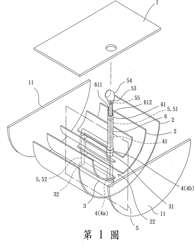
一種多層級太陽能裝置,係包含:一透光基板;複數個聚光板,分別具有不同大小之弧度,並依弧度之曲率半徑大小依序間隔設置於該透光基板之底部,以隔出複數個光反射空間;一導熱管,繞設於各光反射空間中;至少一氣渦輪機,設置於該導熱管中;一氣體導入管,分為第一段及第二段,該第一段凸伸於該透光基板之頂部,該第二段貫穿該透光基板並與該導熱管之一端相接;及一氣體排放管,一端凸伸於該透光基板之頂部,另一端貫穿該透光基板並與導熱管之另一端相接。

可應用範圍
(產業利用性)

照片/圖示

附件