國立屏東科技大學
可移轉專利技術摘要

專利名稱

微域加熱晶片

專利證號

I435648

專利國別

中華民國

專利類型

公告日

2014/04/21

發明人代表

陳志堅

專利技術摘要

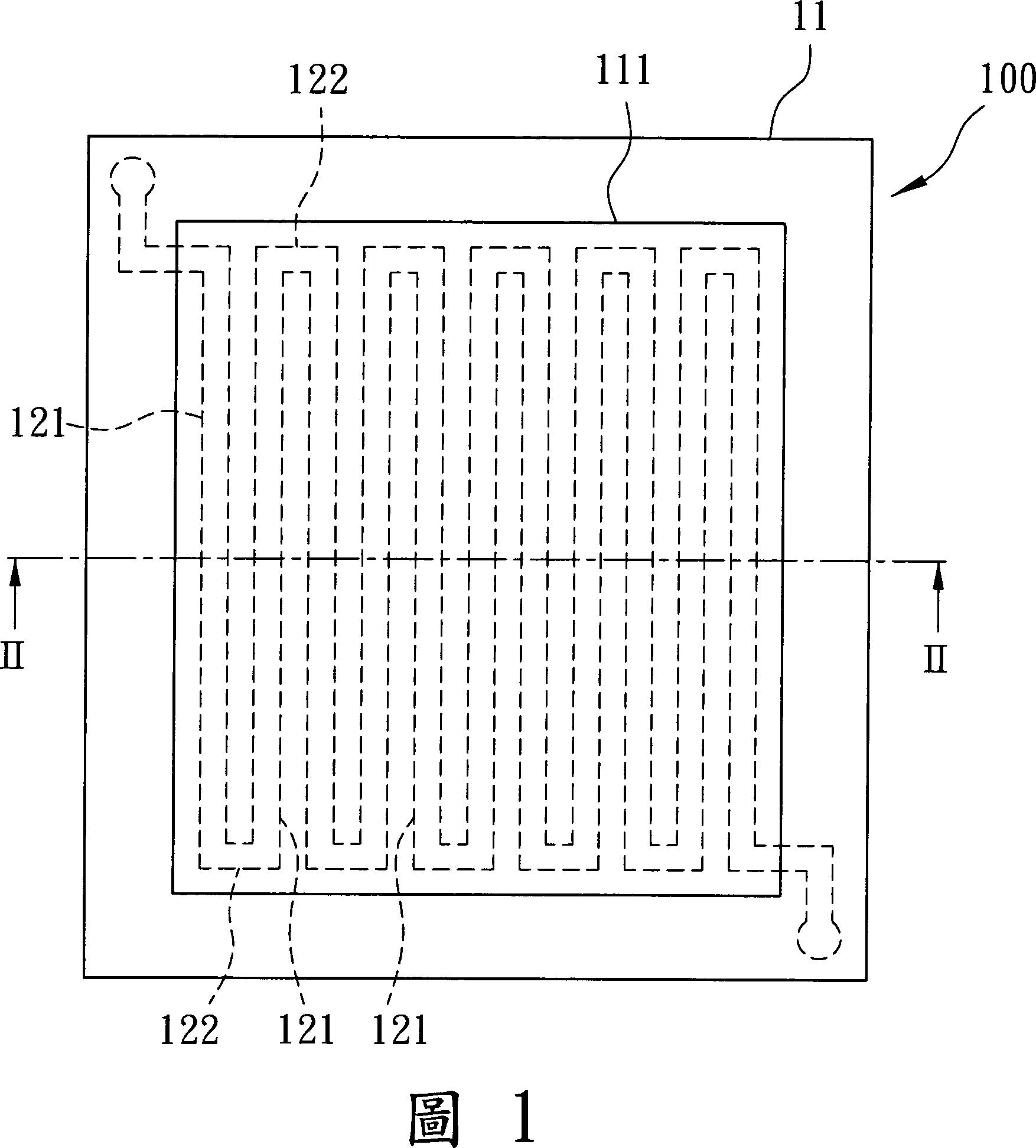
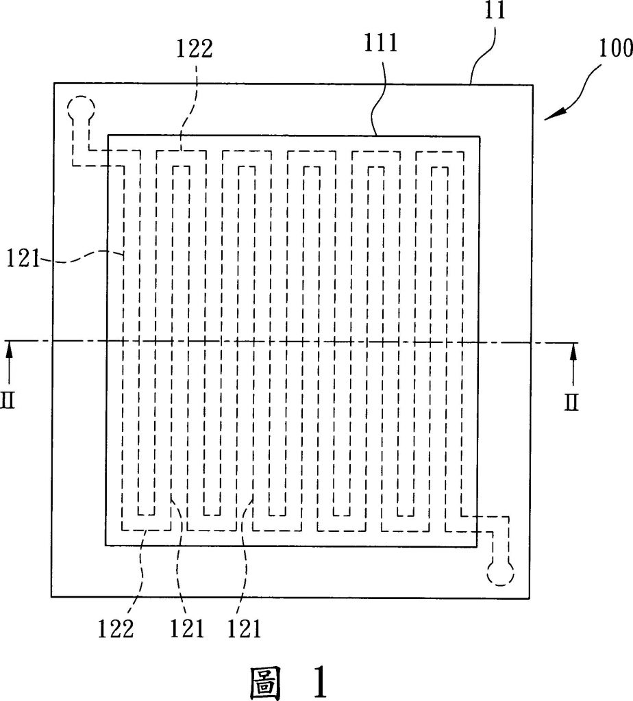
一種微域加熱晶片,供容放並加熱檢測樣本,包含具有供容置檢測樣本之空間的片體,及設置於該片體中的電阻式加熱片,特別是,該電阻式加熱片具有多數彼此相間隔的主加熱段,及多數連接該等主加熱段的連接段,每一主加熱段包括多數間隔排列的低溫區塊,與多數分別連接二相鄰之低溫區塊的高溫區塊,且每一高溫區塊的面積小於每一低溫區塊,使當供電於該電阻式加熱片時,任一高溫區塊及其中一與該高溫區塊連接的低溫區塊共同加熱而使該空間形成一等溫區。

可應用範圍
(產業利用性)

照片/圖示

附件