國立屏東科技大學
可移轉專利技術摘要

專利名稱

微流體分餾晶片

專利證號

I438027

專利國別

中華民國

專利類型

公告日

2014/05/21

發明人代表

傅龍明、楊瑞珍、朱偉中

專利技術摘要

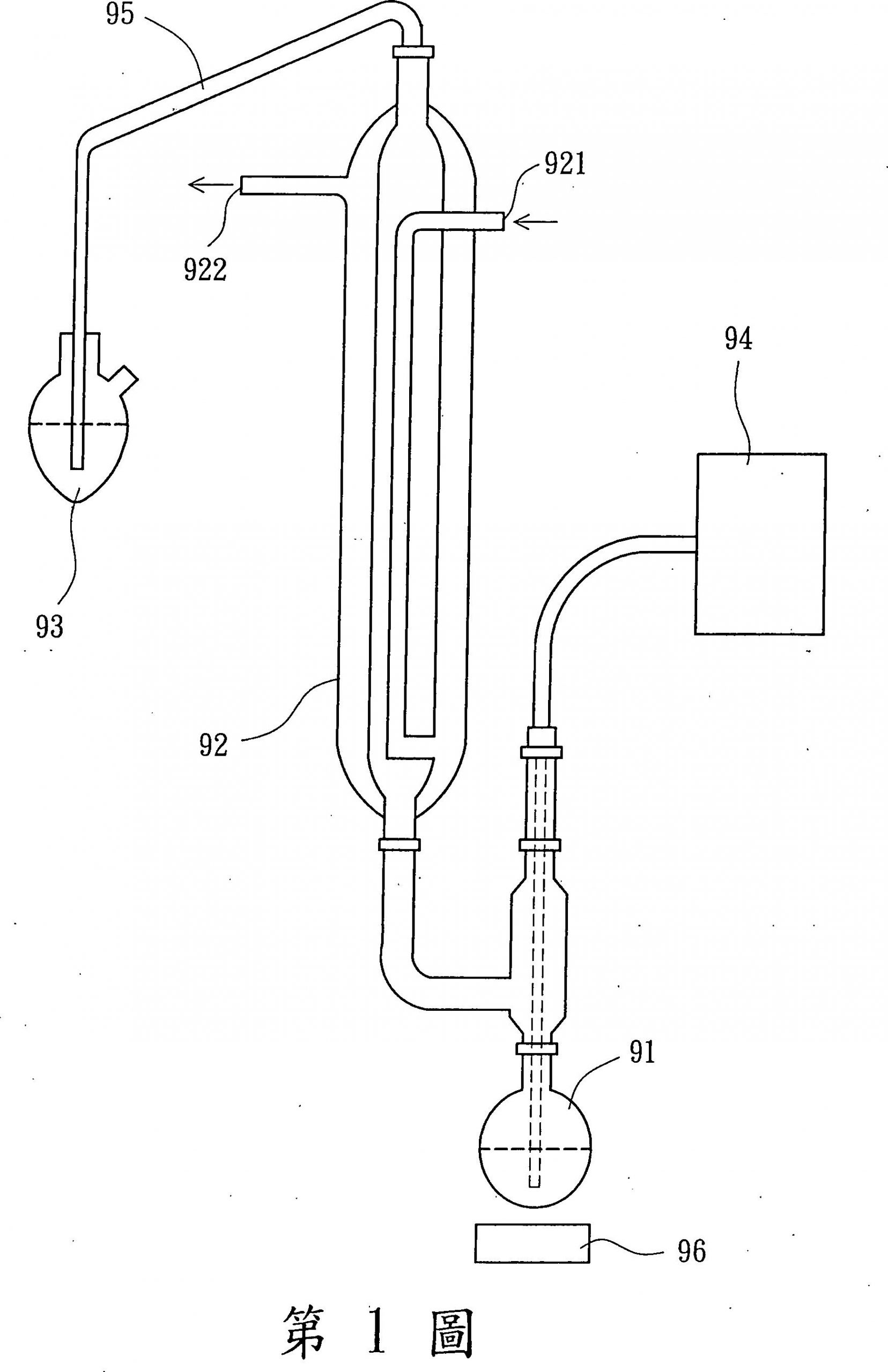
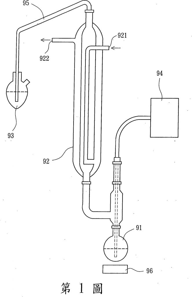
一種微流體分餾晶片,係包含:一晶片體,形成有一注液口及一收集槽,該注液口與收集槽分別設於該晶片體之二相對側,且該晶片體另形成一分餾道,該分餾道係自該注液口成彎曲地延伸至該收集槽,並與該注液口及收集槽皆呈相互連通;一傳導組,分為一熱傳件及一冷傳件,該熱傳件係貼接於該晶片體,並與該晶片體共同形成一致熱區,該冷傳件亦貼接於該晶片體,並與該晶片體共同形成一冷凝區,且該致熱區與冷凝區之間係形成一緩衝區;及一控溫組,具有一加熱件及一制冷件,該加熱件係與該熱傳件相結合,且該制冷件則係與該冷傳件相結合。

可應用範圍
(產業利用性)

照片/圖示

附件