國立屏東科技大學
可移轉專利技術摘要

專利名稱

熱輻射磁制冷裝置

專利證號

I439650

專利國別

中華民國

專利類型

公告日

2014/06/01

發明人代表

戴昌賢、梁智創

專利技術摘要

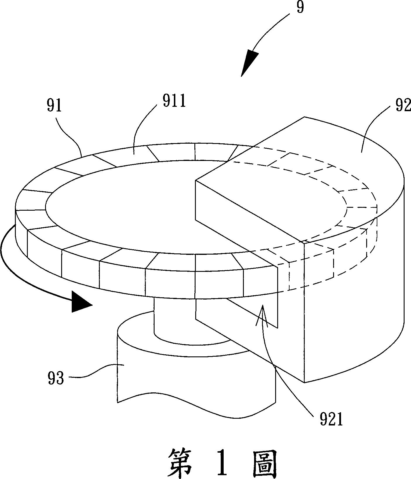
一種熱輻射磁制冷裝置,包含:一座體,設一容置空間及一穿孔;一合金轉體,係可旋轉地容置於該座體之容置空間,該合金轉體具有一轉軸及數合金片,該轉軸之一端穿設於該座體之穿孔,該數合金片繞設於該轉軸之外周;一輻射反射體,容置於該座體之容置空間,並繞設於該合金轉體之外周,該輻射反射體具有一熱端輻射部及一冷端輻射部,該熱端輻射部及冷端輻射部分別形成一第一輻射面及一第二輻射面,該第一輻射面及第二輻射面皆面向該數合金片;及一磁性件,與該合金轉體之數合金片相互對應,且位於該熱端輻射部與座體所圈設之範圍內。

可應用範圍
(產業利用性)

照片/圖示

附件