專利名稱
海浪壓力發電裝置
專利證號
I448616
專利國別
中華民國
發明人代表
邱靖華、郭癸賓
專利技術摘要
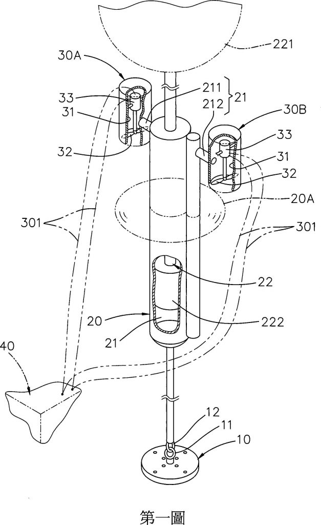
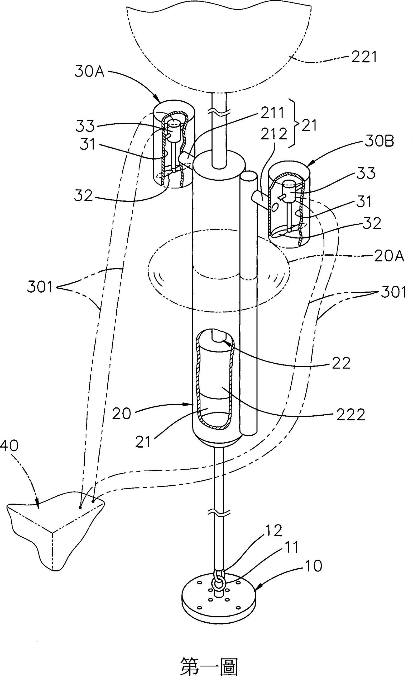
本發明係有關一種海浪壓力發電裝置,其包括一固定座、一壓力缸及兩個發電裝置,固定座固定於海洋環境底部;海洋環境具有起伏波動之海浪;壓力缸樞接於固定座上,其內具有通道部,通道部內設活塞部,並連通兩個導流端;活塞部設浮動端件及活塞端件,浮動端件浮動於海洋環境之海浪上,活塞端件延伸至通道部內,並可於兩個導流端間移動。兩個發電裝置分別連通兩個導流端;當浮動端件隨海浪起伏動作,係連動活塞端件於通道部內移動,並分別朝兩個導流端產生一吸一推的動力,以分別帶動兩個發電裝置產生電力。故,本案兼具可將自然海浪動力轉成電力、海浪起伏可轉成動力與可降低海浪衝擊的壓力等優點。