國立屏東科技大學
可移轉專利技術摘要

專利名稱

網格式資料分群方法

專利證號

I453613

專利國別

中華民國

專利類型

公告日

2014/09/21

發明人代表

蔡正發、張峻豪

專利技術摘要

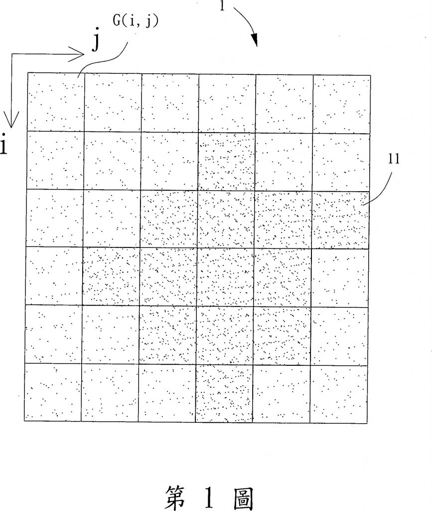
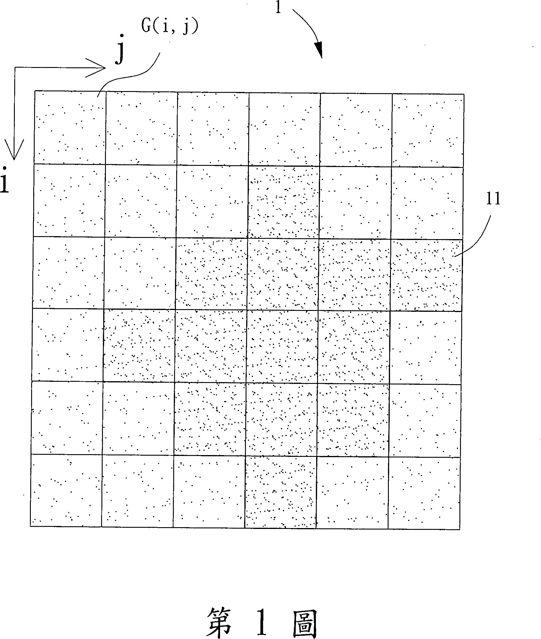
一種網格式資料分群方法,係包含:一設定程序,係設定一網格數及一最小包含點數;一切割程序,係依據該網格數將一資料集切割成數個網格,其中,所有網格分屬數個目標段落及數個非目標段落,該目標段落及該非目標段落相互交錯排列;一過濾程序,係以該最小包含點數過濾各網格是否有效;及一搜尋程序,係依序搜尋該目標段落之網格,由搜尋之網格進行擴散及分群,直到所有目標段落之網格皆已完成搜尋。

可應用範圍
(產業利用性)

照片/圖示

附件