國立屏東科技大學
可移轉專利技術摘要

專利名稱

空氣濾清裝置

專利證號

I453060

專利國別

中華民國

專利類型

公告日

2014/09/21

發明人代表

戴昌賢、劉耿任、黃武章

專利技術摘要

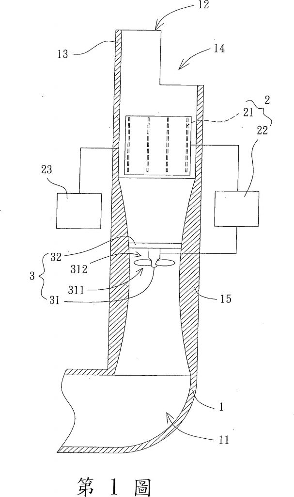
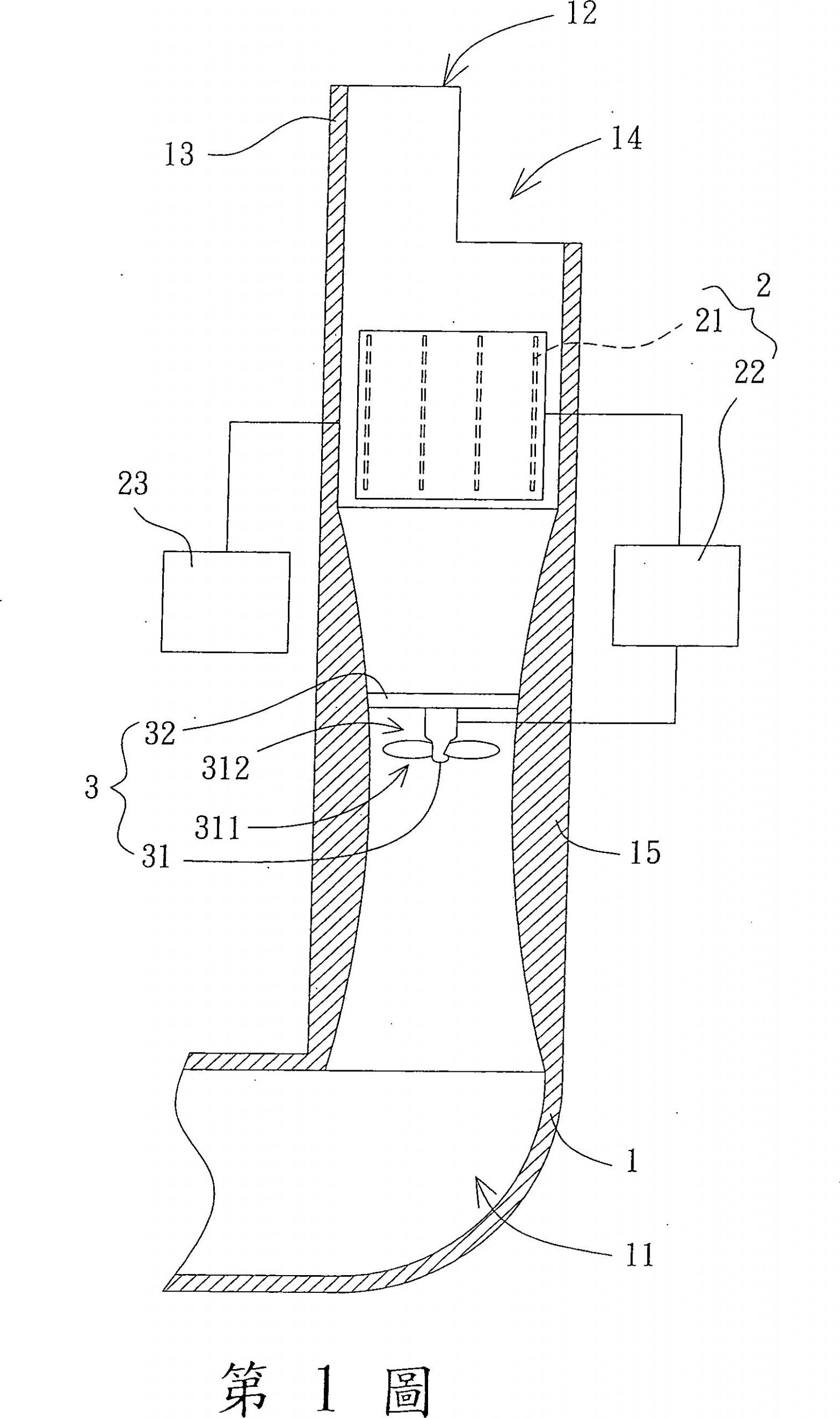
一種空氣濾清裝置,係包含:一導氣管,具有一導氣道及一出口端,該出口端之兩側分別設有一迎風部及一呈缺槽狀之引流部;一電網組件,具有一集電網及一電力供給模組,該集電網設於該導氣道中,該電力供給模組電性耦接該集電網;及一風力發電機,設於該導氣道中並電性耦接該電力供給模組,該風力發電機設有一風扇,該風扇具有朝向該出口端之一出風側。

可應用範圍
(產業利用性)

照片/圖示

附件