國立屏東科技大學
可移轉專利技術摘要

專利名稱

熱離子發電裝置

專利證號

I456888

專利國別

中華民國

專利類型

公告日

2014/10/11

發明人代表

戴昌賢、羅四維

專利技術摘要

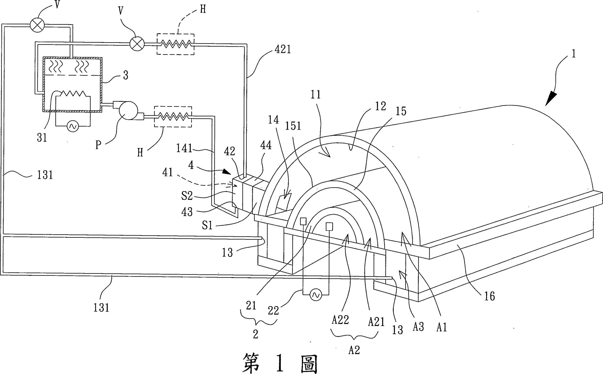
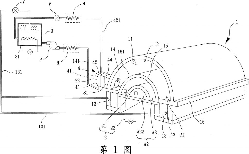
一種熱離子發電裝置,係包含:一基體,具有一容置空間及一聚焦面,該聚焦面相對該容置空間呈一凹面狀,該基體設有一鹼金屬件,該鹼金屬件形成有一衝擊面,該衝擊面相對該聚焦面呈一對應之凸面狀,該鹼金屬件將該容置空間分為一高能震波衝擊區及一熱電子發散區,該高能震波衝擊區位於鹼金屬件與聚焦面之間,且對應該基體的數進氣口及至少一排氣口;及一產電組件,設於該基體之熱電子發散區,用以導出熱電子發散所生成之電。

可應用範圍
(產業利用性)

照片/圖示

附件