專利名稱
防風路障警示裝置
專利證號
I457874
專利國別
中華民國
發明人代表
邱靖華、郭癸賓
專利技術摘要
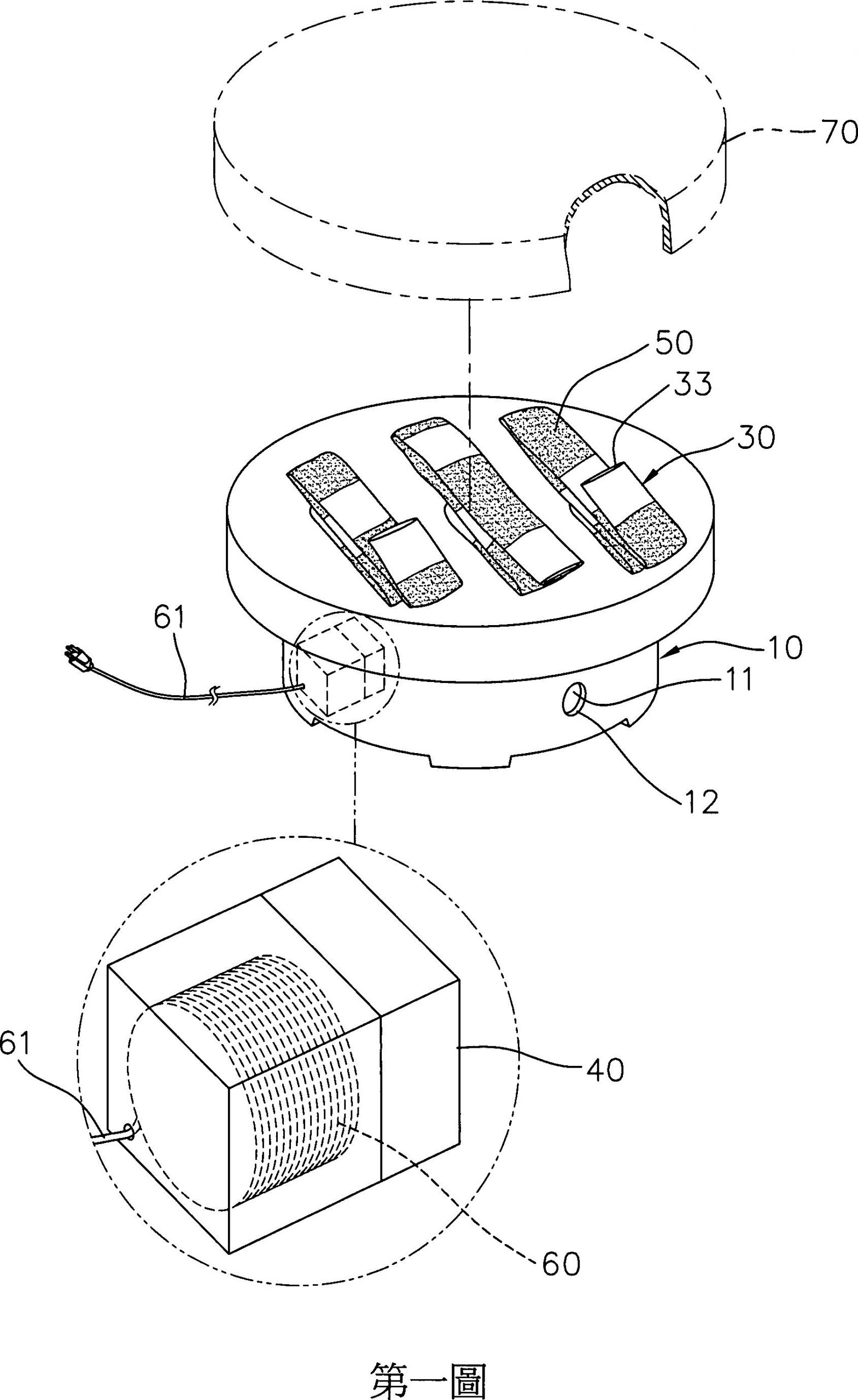
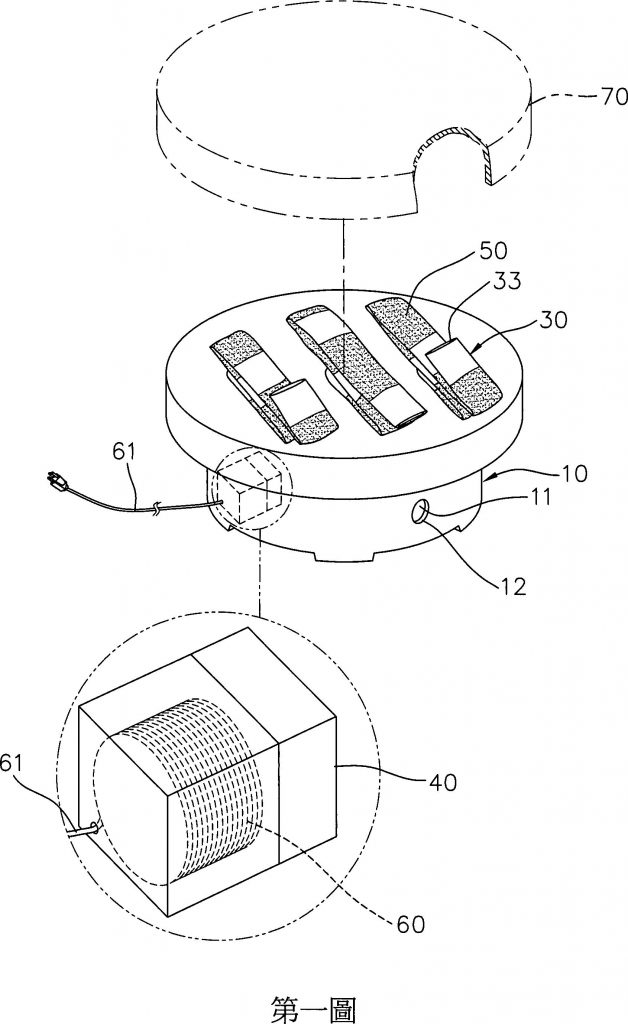
本發明係有關一種防風路障警示裝置,其包括一底座、一氣體供應裝置及至少一防風警示部。氣體供應裝置係對防風警示部供應氣體。防風警示部具有入氣口、輕量可撓管道及出氣口,入氣口連通氣體供應裝置。當氣體未流通於防風警示部內,防風警示部概呈消氣收納狀。當氣體持續經入氣口、輕量可撓管道而流出出氣口,防風警示部因內部具有氣流而概呈通氣立起狀,可供路障警示作用。並當防風警示部承受風力吹襲,且風力大於氣體壓力時,防風警示部概呈撓折緩衝防風狀。故,本案兼具防風吹結構、軟質結構便於搬運儲置、輕量結構減少重量與設有亮光部提升警示效果等優點。