國立屏東科技大學
可移轉專利技術摘要

專利名稱

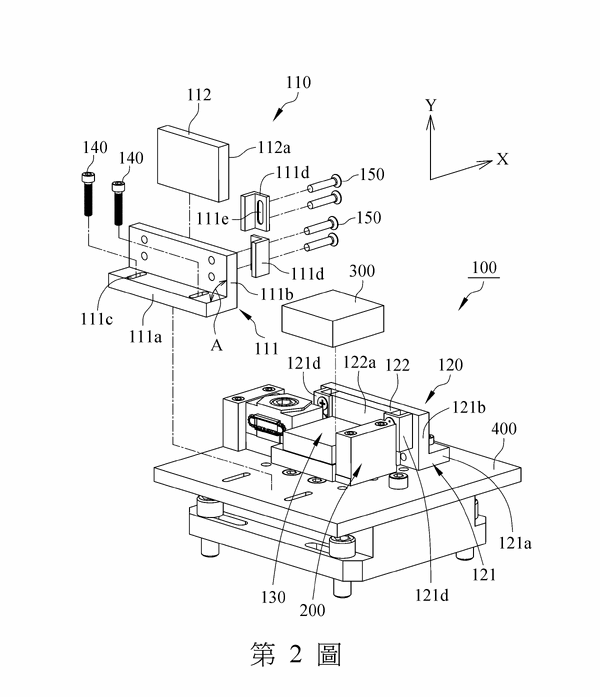
導磁載台

專利證號

I911619

專利國別

中華民國

專利類型

公告日

2026/01/01

發明人代表

黃惟泰、鄭宇翔

專利技術摘要

一種導磁載台包含一第一導磁組及一第二導磁組,該第一導磁組的一第一磁性件與該第二導磁組的一第二磁性件之間具有一空間,該空間用以容置一待加工件,以在一磨削加工過程中,藉由該第一磁性件及該第二磁性件使該待加工件受磁,並產生電渦流,且在電渦流與磁場相互作用下產生阻尼效應,進而提高該待加工件的導熱率,以降低一研磨輪磨損率。

可應用範圍
(產業利用性)

本發明的主要目的是在提供一種導磁載台,其藉由分別位於一待加工件的一第一磁性件及一第二磁性件,使該待加工件受磁,以在一磨削加工過程中提高該待加工件的熱導率。 本發明之一種導磁載台,其包含一第一導磁組及一第二導磁組,該第一導磁組具有一第一基座及一第一磁性件,該第一磁性件結合於該第一基座,該第一磁性件具有一第一導磁面,該第二導磁組具有一第二基座及一第二磁性件,該第二磁性件結合於該第二基座,該第二磁性件具有一第二導磁面,該第二導磁面朝向該第一導磁面,該第一導磁面與該第二導磁面之間具有一空間,該空間用以容置一待加工件,以使該待加工件受磁。 本發明藉由該第一磁性件及該第二磁性件,使該待加工件受磁,並產生電渦流,且在電渦流與磁場相互作用下產生阻尼效應,以提高該待加工件的導熱率。

照片/圖示

附件