國立屏東科技大學
可移轉專利技術摘要

專利名稱

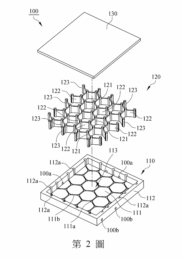
可改變流道之散熱構造

專利證號

I910928

專利國別

中華民國

專利類型

公告日

2026/01/01

發明人代表

盧威華、郎明忠

專利技術摘要

一種可改變流道之散熱構造,包含一底座、一組合式導流模組及一蓋板,該組合式導流模組設置於該底座的一容置空間中,該蓋板覆蓋該容置空間及該組合式導流模組,該組合式導流模組包含複數個第一轉接柱及複數個隔板,該些隔板活動地結合於相鄰的二該第一轉接柱,藉由選擇性地將該些隔板結合於相鄰的二該第一轉接柱,以構成可改變流體流向的至少一流道,使該流道可應用於不同的散熱區域及散熱需求,以增加散熱效率。

可應用範圍
(產業利用性)

本發明的主要目的是藉由一散熱構造的一組合式導流模組改變一流道的配置,以使通過該散熱構造的一流體改變流向,以利該散熱構造可對一發熱裝置的不同區域進行散熱,以符合散熱需求,進而增加該散熱構造的散熱效率。 本發明之一種可改變流道之散熱構造,具有至少一流體入口及至少一流體出口,該流體入口及該流體出口分別用以輸入及輸出通過該散熱構造的一流體,該散熱構造包含一底座、一組合式導流模組及一蓋板,該底座具有一底板、一邊框及一容置空間,該邊框結合於該底板並環繞該容置空間,該組合式導流模組設置於該容置空間中,該組合式導流模組包含複數個第一轉接柱及複數個隔板,該些隔板活動地結合於相鄰的二該第一轉接柱,以圈圍形成複數個艙室於該容置空間中,各該隔板分別位於相鄰的各該艙室之間,藉由選擇性地將該些隔板結合及/或拆離於相鄰的二該第一轉接柱,使該些艙室可連通,以構成可改變該流體流向的至少一流道,該流道連通該流體入口及該流體出口,該蓋板覆蓋該容置空間。 本發明藉由設置於該容置空間的該組合式導流模組的該些隔板選擇性地結合於相鄰的二該第一轉接柱以構成可改變該流體流向的該流道,使該散熱構造可依據該發熱裝置的不同區域進行散熱,以符合散熱需求,進而增加該散熱構造的散熱效率,且本發明可適用於不同的發熱裝置,以對不同的發熱裝置的發熱位置進行散熱,進而達到降低製造不同型態的散熱構造的成本。

照片/圖示

附件