跳到主要內容
  • 回首頁
  • 聯絡我們
  • 研究發展處
  • 國立屏東科技大學
  • 中心簡介
    • 成員執掌
  • 專利資訊
    • 本校專利資訊管理
    • 本校專利資訊
    • 專利事務所訊息
    • 專利清冊
    • 登入
  • 表單下載
  • 專利讓與公告
  • 研習活動報名
  • 宣導專區
  • 相關法規
    • 本校相關法規
    • 政府法規
    • 智慧財產相關連結

專利分類: 發明

含銅抗菌之不銹鋼銲接活性劑

物件表面之光學檢測裝置

具有簡諧倍頻音之音板結構

停車輔助裝置、車輛和停車輔助方法

用於影像壓縮技術之編碼簿產生方法

以聖草酚降低體外單核球細胞生成極遲反應抗原-4之方法

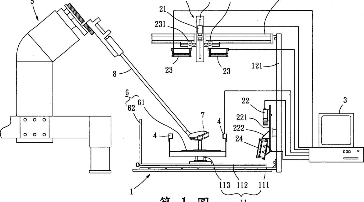
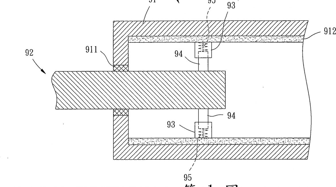
打擊性能測試機及其影像擷取裝置

具旋轉電極之導電裝置

多層結構管材之製造方法及其裝置

文章導覽

Older Posts Older Posts
Newer Posts Newer Posts
聯絡資訊
  • 地址:91201屏東縣內埔鄉學府路1號(行政大樓4樓)
  • 電話:08-7703202轉6281、6282、6283
  • 傳真:08-7740158
  • Copyright © 2023 國立屏東科技大學技轉中心 版權所有