跳到主要內容
  • 回首頁
  • 聯絡我們
  • 研究發展處
  • 國立屏東科技大學
  • 中心簡介
    • 成員執掌
  • 專利資訊
    • 本校專利資訊管理
    • 本校專利資訊
    • 專利事務所訊息
    • 專利清冊
    • 登入
  • 表單下載
  • 專利讓與公告
  • 研習活動報名
  • 宣導專區
  • 相關法規
    • 本校相關法規
    • 政府法規
    • 智慧財產相關連結

專利分類: 發明

光纖光柵振動感測方法

除濕裝置

主動式盆栽供水裝置

具有金屬加強件之高溫承燒板之製造方法及其結構

生物活性微脂粒及其製造方法

多晶片模組構裝之錫球接合強度測試定位機構及其測試方法

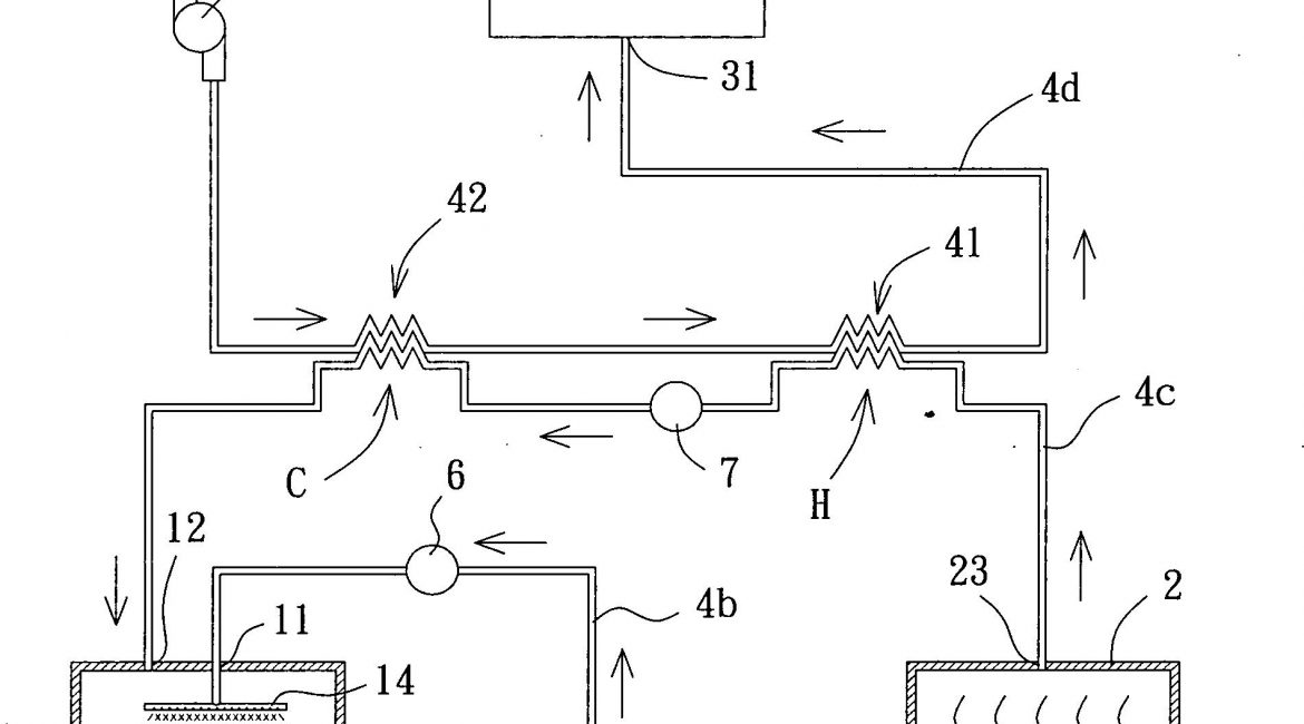
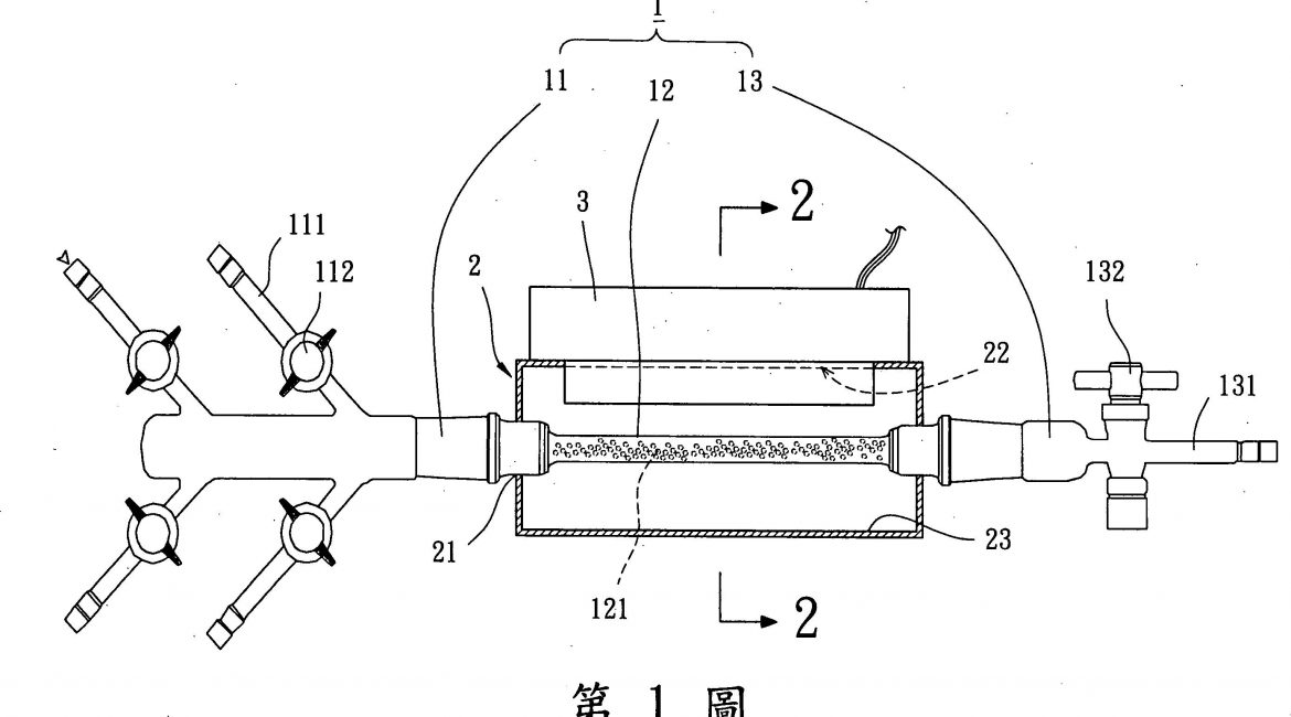
處理含乙烯基單體之氣體的光反應器

用於禽用疫苗佐劑之含多套CpG模組之重組質體及其轉型株

含銀抗菌之不銹鋼銲接活性劑

文章導覽

Older Posts Older Posts
Newer Posts Newer Posts
聯絡資訊
  • 地址:91201屏東縣內埔鄉學府路1號(行政大樓4樓)
  • 電話:08-7703202轉6281、6282、6283
  • 傳真:08-7740158
  • Copyright © 2023 國立屏東科技大學技轉中心 版權所有