跳到主要內容
  • 回首頁
  • 聯絡我們
  • 研究發展處
  • 國立屏東科技大學
  • 中心簡介
    • 成員執掌
  • 專利資訊
    • 本校專利資訊管理
    • 本校專利資訊
    • 專利事務所訊息
    • 專利清冊
    • 登入
  • 表單下載
  • 專利讓與公告
  • 研習活動報名
  • 宣導專區
  • 相關法規
    • 本校相關法規
    • 政府法規
    • 智慧財產相關連結

專利分類: 發明

網格式資料分群方法

海浪壓力發電裝置

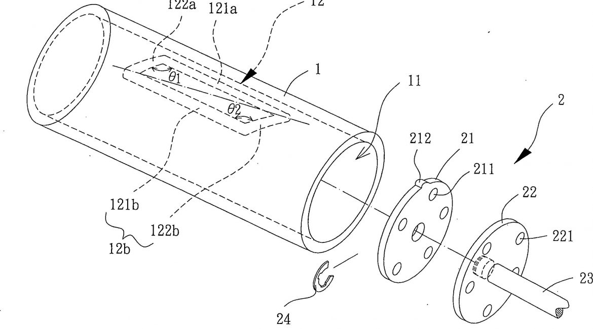
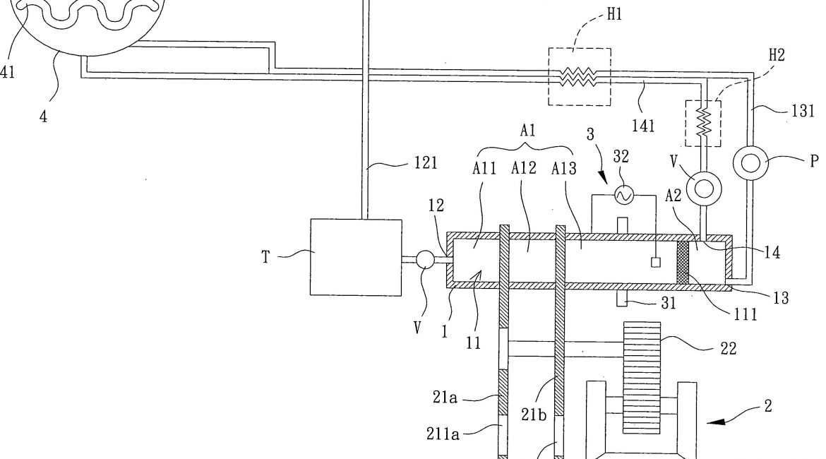
具有致熱及致冷之裝置

磁流體發電裝置

鈉金屬熱電轉換發電裝置

氧氣製造裝置

高效蒸餾式海水淡化裝置

氣體製造裝置

交通密度估計方法

文章導覽

Older Posts Older Posts
Newer Posts Newer Posts
聯絡資訊
  • 地址:91201屏東縣內埔鄉學府路1號(行政大樓4樓)
  • 電話:08-7703202轉6281、6282、6283
  • 傳真:08-7740158
  • Copyright © 2023 國立屏東科技大學技轉中心 版權所有